Sony’s recent patent for an AI-generated “ghost” tutorial system is framed as a player-friendly quality of life feature. On paper, it looks like a hint system that watches how you play and steps in when you get stuck, but, in practice, it fits neatly into a broader pattern in how Sony appears to be thinking about AI, one that prioritizes platform-level mediation over player or developer intent.
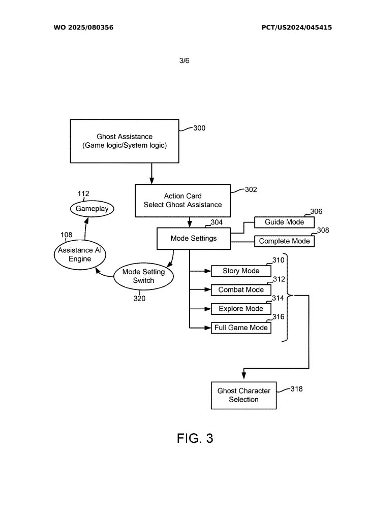
The ghost system is designed to observe gameplay, identify points where a player is struggling, and then demonstrate how to proceed by acting inside the game itself. That could mean showing optimal routes, executing a combo, or walking through a puzzle solution in real time. Unlike tutorials or hints, this system adapts dynamically based on the player and previously recorded gameplay.
As a learning aid, the idea is not inherently bad. Seeing a solution demonstrated directly in context can be more effective than pausing to read instructions or search for an external guide. The problem starts when the AI is no longer explaining the game, but participating in it.
Once an automated system decides when difficulty crosses the threshold from challenge to frustration, it is deciding which parts of a game are worth engaging with and which should be bypassed. Difficulty spikes, trial and error, and even confusion, are often intentional design choices. An AI that smooths those away risks reframing games as problems to be optimized rather than experiences to be, well, experienced.
This all recalls Sony’s recent patent of AI censorship tools. That patent proposed dynamically altering game content in real time to comply with age ratings or regional rules, including modifying dialogue and visuals on the fly. In both cases, AI is positioned as an intermediary layer between the player and the game.
The common thread is not assistance, it’s authority. In the censorship patent, Sony’s AI decides what content you are allowed to see. In the ghost patent, it may decide how much of the game you are encouraged to play yourself. Both shift power away from developers and players and favor the platform holder.
Sony is quick to note that these are just patents, not products, and while that is true, patents are not neutral thought experiments. Together, these filings suggest a future where the console does not just run games, but actively moderates them. Really, the only question will be whether that mediation is optional or imposed.
Source: BoingBoing via Polygon
What did you think of this article? Let us know in the comments below, and chat with us in our Discord!
This page may contain affiliate links, by purchasing something through a link, Retro Handhelds may earn a small commission on the sale at no additional cost to you.


2 Comments
These patents make me glad I’ve stopped with the PS4 for Sony Platforms.
Thanks, I hate it. If this isn’t optional, Sony is going to lose a LOT of its loyal fans whenever they release the PS6, including me